雙齒輥破碎機結構圖_雙齒輥破碎機圖紙
雙齒輥破碎機是由兩臺電機帶動兩個輥子進行工作的,和雙輥破碎機的區(qū)別就是輥面上,一個輥面是齒面,一個是光面。齒輥破碎機是利用兩組單獨轉動的輥軸,相對旋轉產生的擠軋力和磨剪力來破碎物料的。雙齒輥破碎機具有外形體積小、破碎比大、產量高、噪音低、結構簡單、維修方面等優(yōu)點,被粉碎物料粒度均勻,過粉碎率低,維修方便,過載保護靈敏,安全可靠等特點。齒輥式破碎機廣泛適用于燒結礦、煤炭、水泥、硅酸鹽、玻璃、陶瓷等行業(yè)。用戶們在使用雙齒輥破碎機比較關注其組成結構,今天小編就以雙齒輥破碎機結構圖來和大家共同了解下雙齒輥破碎機結構。

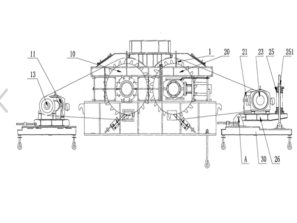
我們吉宏專業(yè)生產雙齒輥破碎機具有三十年的生產經驗,技術員一直堅持實踐,積累了不少經驗。吉宏雙齒輥式破碎機主要由電動機通過三角膠帶輪,驅動一對中間齒輪,帶動主動齒輪轉動,再以主動齒輥另端的一對齒輪帶動從動齒輪,從而形成了兩齒輥的相對運動而進行物料的破碎。
齒輥式破碎機,齒輥破碎機,雙齒輥破碎機,齒牙式破碎機,焦炭破碎機,齒輥碎煤機移動架主要由座架,軸承座、彈簧和拉緊螺栓組成。雙齒輥破碎機的總體裝配型式有左、右式之分,從齒輥、移動架一端看,電動機及膠帶輪位于左側者,稱左式,位于右側者為右式。
雙齒輥破碎機主要由一對齒輥、兩對減速齒輪、兩個膠帶輪、齒輥移動架和機架等組成。膠帶輪安裝在傳動軸的軸套上,軸套由鉤頭鍵固定在軸上,膠帶輪通過保險銷與軸套連在一起,并傳遞轉矩。當超負荷運轉時,保險銷立即切斷,膠帶輪空轉。傳動軸由兩軸承支持,其中間裝有齒輪。主動齒輪的軸亦有兩個滑動軸承支持,其一端裝有齒輪與傳動軸齒輪相嚙合,另一端齒輪與從動齒輥軸上的齒輪相嚙合。從動齒輪安裝在移動架上面。當破碎機內進入大塊物料時,從動齒輪可通過移動架上的壓縮彈簧,使其后移,對輥破碎機擴大齒輥間隙而排出大塊物料。

雙齒輥破碎機圖紙
通過雙齒輥破碎機結構圖讓大家詳細了解了雙齒輥破碎機的組成結構,鞏固的知識。凡是需要選購齒輥破碎機的用戶們,一定要把齒輥破碎設備的結構組成部分掌握清楚。我們吉宏專業(yè)雙齒輥破碎機生產廠家,多年來一直堅持“質量信譽一起抓”,成為用戶們值得信賴的好廠家。






